1.首先联系QQ212899591,进行授权
2.服务器环境
服务器环境:php74、mysql5.6或5.7 扩展:SG15和fileinfo
登录数据,用户名admin 密码123456
搭建好宝塔环境之后,然后搭建网站,下载好源码,进行解压
3.然后点击文件/includes/database.php配置好数据库
![图片[1]-优茗导航系统安装教程-逍遥资源网](https://www.4984.cn/wp-content/uploads/2025/07/55bb02c98120250721002853.png)
然后导入根目录sql.sql文件导入数据库里面,然后点击访问域名,然后下载文件
![图片[2]-优茗导航系统安装教程-逍遥资源网](https://www.4984.cn/wp-content/uploads/2025/07/2dae34750b20250721003028-1024x252.png)
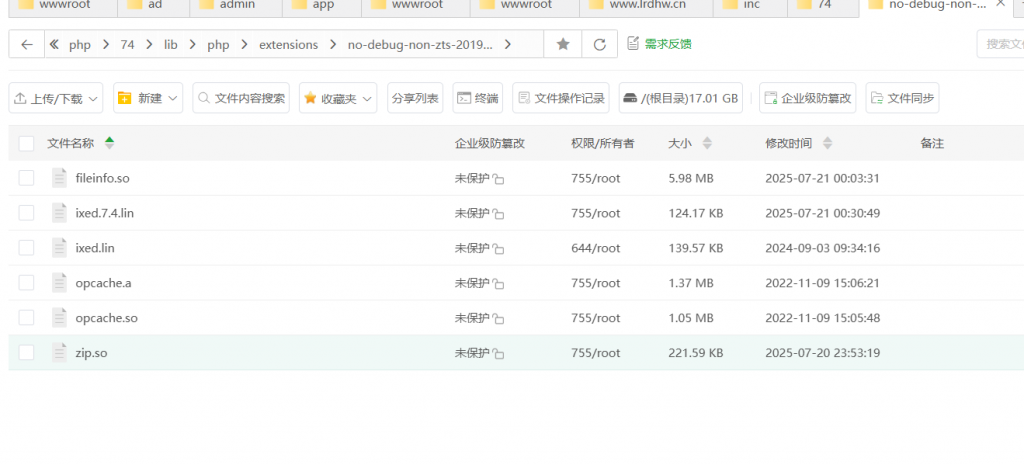
把下载好的文件上传到/www/server/php/74/lib/php/extensions/no-debug-non-zts-20190902
![图片[3]-优茗导航系统安装教程-逍遥资源网](https://www.4984.cn/wp-content/uploads/2025/07/4a47a0db6e20250721003130-1024x465.png)
然后打开文件/www/server/php/74/etc/php.ini,拉到最下面输入extension=ixed.7.4.lin’ directive
![图片[4]-优茗导航系统安装教程-逍遥资源网](https://www.4984.cn/wp-content/uploads/2025/07/fb5c81ed3a20250721003318-1024x331.png)
然后重启PHP7.4或者重启服务器即可,然后访问域名
搭建好之后,点击宝塔,计划任务,添加Shell脚本,执行时间30秒,执行用户root
cd /www/wwwroot/www.85dh.cn/functions/frontend
php update_ad_status.php
![图片[5]-优茗导航系统安装教程-逍遥资源网](https://www.4984.cn/wp-content/uploads/2025/07/10fb15c77220250721004316.png)
伪静态
后台如果上传不了图片,请移到宝塔,点击文件,全选,权限改成777
![图片[6]-优茗导航系统安装教程-逍遥资源网](https://www.4984.cn/wp-content/uploads/2025/07/09dd8c266220250721004534-1024x539.png)
支付宝回调地址
https://www.phpmsl.cn/payment/alipay/alipay_notify.php
微信回调地址
https://www.phpmsl.cn/payment/return.php
采集规则




















暂无评论内容